![]() |
![]() |
![]() |
§
83. Выполнение сечений на чертеже
Изображение
фигуры, получаемой при мысленном рассечении одной или несколькими плоскостями,
при условии показа на чертеже только того, что попало в секущую плоскость, называется
сечением. Сечение отличается от разреза тем, что на нем изображают только то,
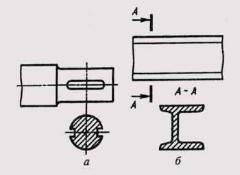
что непосредственно попадает в секущую плоскость (рис. 186, а). Сечение, как
и разрез,— изображение условное, так как фигура сечения отдельно от предмета
не существует: ее мысленно отрывают и изображают на свободном поле чертежа.
Сечения входят в состав разреза и существуют как самостоятельные изображения.
Сеченик,
не входящие в состав разреза, разделяют на вынесенные (рис. 186, б) и наложенные
(рис. 187, а). Предпочтение следует отдать сечениям вынесенным, которые
можно располагать в разрезе между частями одного и того же изображения (рис.
187, б).
По
форме сечения делят на симметричные (рис. 187, а, б) и несимметричные (рис.
186, б).
Контур вынесенного сечения вычерчивают сплошными

Рис. 186

Рис. 187

Рис. 188

Рис.
189
основными линиями, а наложенного — сплошными тонкими, причем контур основного
изображения в месте расположения наложенного сечения не прерывают.
Обозначение
сечений в общем случае аналогично обозначению разрезов, т. е. положение секущей
плоскости отображают линии сечения, на которых наносят стрелки, дающие направление
взгляда и обозначаемые одинаковыми прописными буквами русского алфавита. Над
сечением в этом случае выполняют надпись по типу «А — А» (см. рис.
186, б).
Для
несимметричных наложенных сечений или выполненных в разрыве основного изображения,
линию сечения со стрелками проводят, но буквами не обозначают (рис. 188, а,
б). Наложенное симметричное сечение (см. рис. 187, а), симметричное
сечение, выполненное в разрыве основного изображения (см. рис. 187, б), вынесенное
симметричное сечение, выполненное по следу секущей плоскости (см. рис. 186,
а), оформляют без нанесения линии сечения.
Рис.
190
Если
секущая плоскость проходит через ось поверхности вращения, ограничивающей отверстие
или углубление, то контур отверстия или углубления вычерчивают полностью (рис.
189, а).
Если
секущая плоскость проходит через сквозное некруглое отверстие и сечение получается
состоящим из отдельных самостоятельных частей, то следует применять разрезы
(рис. 189, б).
Наклонные
сечения получаются от пересечения предмета наклонной плоскостью, составляющей
с горизонтальной плоскостью проекций угол, отличный от прямого. На чертеже наклонные
сечения выполняют по типу вынесенных сечений. Наклонное сечение предмета нужно
строить как совокупность наклонных сечений составляющих его геометрических тел.
Построение наклонных сечений основано на применении способа замены плоскостей
проекций (см. §§ 36, 58).
При вычерчивании наклонного сечения нужно определить, какие поверхности, ограничивающие предмет, рассекаются секущей плоскостью, и какие линии получаются от пересечения этих поверхностей данной секущей плоскостью (см. § 64). На рис. 190 построено наклонное сечение «А — А». Секущая плоскость пересекает основание предмета по трапеции, внутреннюю и наружную цилиндрические поверхности — по эллипсам, центры которых лежат на основной вертикальной оси предмета. Чтение формы наклонного сечения упрощается, если построить горизонтальную проекцию наклонного сечения как наложенное сечение.
![]() |
![]() |
![]() |