![]() |
![]() |
![]() |
§
82. Выполнение разрезов на чертеже
Изображение
предмета, мысленно рассеченного одной или несколькими плоскостями, называют
разрезом. Мысленное рассечение предмета относится только к данному разрезу
и не влечет за собой изменения других изображений того же предмета. На разрезе
показывают то, что получается в секущей плоскости и что расположено за ней.
Разрезы
применяются для изображения внутренних поверхностей предмета, чтобы избежать
большого количества штриховых линий, которые могут перекрывать друг друга при
сложном внутреннем строении предмета и затруднять чтение чертежа.
Чтобы
выполнить разрез, необходимо: в нужном месте предмета мысленно провести секущую
плоскость (рис. 173, а); часть предмета, находящегося между наблюдателем
и секущей плоскостью, мысленно отбросить (рис. 173, б), оставшуюся часть
предмета проецировать на соответствующую плоскость проекций, изображение выполнить
или на месте соответствующего вида, или на свободном поле чертежа (рис. 173,
в); плоскую фигуру, лежащую в секущей плоскости, заштриховать; при необходимости
дать обозначение разреза.
В
зависимости от числа секущих плоскостей разрезы разделяются на простые — при
одной секущей плоскости, сложные — при нескольких секущих плоскостях.
Рис.
173
В
зависимости от положения секущей плоскости относительно горизонтальной плоскости
проекций разрезы разделяются на:
горизонтальные
— секущая плоскость параллельна горизонтальной плоскости проекций;
вертикальные
— секущая плоскость перпендикулярна горизонтальной плоскости проекций;
наклонные
— секущая плоскость составляет с горизонтальной плоскостью проекций угол, отличный
от прямого.
Вертикальный
разрез называют фронтальным, если секущая плоскость параллельна фронтальной
плоскости проекций, и профильным, если секущая плоскость параллельна профильной
плоскости проекций.
Сложные
разрезы бывают ступенчатыми, если секущие плоскости параллельны между собой,
и ломаными, если секущие плоскости пересекаются между собой.
Разрезы
называются продольными, если секущие плоскости направлены вдоль длины или высоты
предмета, или поперечными, если секущие плоскости направлены перпендикулярно
длине или высоте предмета.
Местные
разрезы служат для выявления внутреннего строения предмета в отдельном ограниченном
месте. Местный разрез выделяется на виде сплошной волнистой тонкой линией.
Правилами
предусмотрено обозначение разрезов.

Рис.
174

Рис.
175
Положение
секущей плоскости указывают разомкнутой линией сечения. Начальные и конечные
штрихи линии сечения не должны пересекать контур соответствующего изображения.
На начальном и конечном штрихах нужно ставить стрелки, указывающие направление
взгляда (рис. 174). Стрелки должны наноситься на расстоянии 2...3 мм от внешнего
конца штриха. При сложном разрезе штрихи разомкнутой линии сечения проводят
также у перегибов линии сечения.
Около
стрелок, указывающих направление взгляда с внешней стороны угла, образованного
стрелкой и штрихом линии сечения, на горизонтальной строке наносят прописные
буквы русского алфавита (рис. 174). Буквенные обозначения присваиваются в алфавитном
порядке без повторений и без пропусков, за исключением букв И, О, X, Ъ, Ы,
Ь.
Сам
разрез должен быть отмечен надписью по типа «А — А» (всегда двумя
буквами, через тире).
Если
секущая плоскость совпадает с плоскостью симметрии предмета, а разрез выполнен
на месте соответствующего вида в проекционной связи и не разделен каким-либо
другим изображением, то для горизонтальных, вертикальных и профильных разрезов
отмечать положение секущей плоскости не нужно и разрез надписью не сопровождать.
На рис. 173 фронтальный разрез не обозначен.
Простые
наклонные разрезы и сложные разрезы обозначают всегда.
Рассмотрим
характерные примеры построения и обозначения разрезов на чертежах.
На
рис. 175 выполнен горизонтальный разрез «А — А» на месте вида сверху.
Плоская фигура, лежащая в секущей плоскости,— фигура сечения — заштрихована,
а видимые поверхности, расположенные

Рис.
176

Рис.
177
под
секущей плоскостью, ограничены контурными линиями и не заштрихованы.
На
рис. 176 выполнен профильный разрез на месте вида слева в проекционной связи
с главным видом. Секущая плоскость является профильной плоскостью симметрии
предмета, поэтому разрез не обозначается.
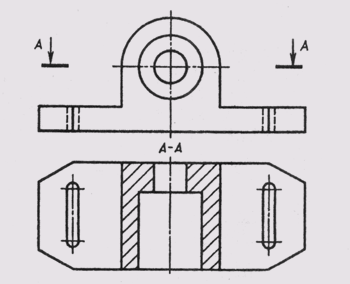
На
рис. 177 выполнен вертикальный разрез «А — А», полученный секущей
плоскостью, не параллельной ни фронтальной, ни профильной плоскостям проекций.
Такие разрезы можно строить в соответствии с направлением, указанным стрелками
(рис. 177), или располагать в любом удобном месте чертежа, а также с поворотом
до положения, соответствующего принятому для данного предмета на главном изображении.
В этом случае в обозначение разреза добавляется знак O.
Наклонный
разрез выполнен на рис. 178. Его можно вычерчивать в
Рис.
178
проекционной
связи в соответствии с направлением, указанным стрелками (рис. 178, а), или
располагать в любом месте чертежа (рис. 178, б).
На
этом же рисунке на главном виде выполнен местный разрез, показывающий сквозные
цилиндрические отверстия на основании детали.
Рис. 179

Рис.
180
На
рис. 179 на месте главного вида вычерчен сложный фронтальный ступенчатый разрез,
выполненный тремя фронтальными параллельными плоскостями. При выполнении ступенчатого
разреза все параллельные секущие плоскости мысленно совмещаются в одну, т. е.
сложный разрез оформляется как простой. На сложном разрезе переход от одной
секущей плоскости к другой не отражается.
При
построении ломаных разрезов (рис. 180) одну секущую плоскость располагают параллельно
какой-либо основной плоскости проекций, а вторую секущую плоскость поворачивают
до совмещения с
Рис.
181
Рис.
182
первой.
Вместе с секущей плоскостью поворачивают и расположенную в ней фигуру сечения
и разрез выполняют в повернутом положении фигуры сечения.
Соединение
части вида с частью разреза в одном изображении предмета согласно ГОСТ 2.305—68
допускается. При этом границей между видом и разрезом служит сплошная волнистая
линия или тонкая линия с изломом (рис. 181).
Если
соединяются половина вида и половина разреза, каждый из которых является фигурой
симметричной, то разделяющей их линией служит ось симметрии. На рис. 182 выполнены
четыре изображения детали, причем на каждом из них половина вида соединена с
половиной соответствующего разреза. На главном виде и виде слева разрез располагают
справа от вертикальной оси симметрии, а на видах сверху и снизу — справа от
вертикальной или снизу от горизонтальной оси симметрии.
Рис.
183
Рис.
184
Если
контурная линия предмета совпадает с осью симметрии (рис. 183), то границу между
видом и разрезом указывают волнистой линией, которую проводят так, чтобы сохранить
изображение ребра.
Штриховка
фигуры сечения, входящей в разрез, должна выполняться согласно ГОСТ 2.306—68.
Цветные, черные металлы и их сплавы обозначают в сечении штриховкой сплошными
тонкими линиями толщиной от S/3 до S/2, которые проводят параллельно
между собой под углом 45° к линиям рамки чертежа (рис. 184, а). Линии штриховки
можно наносить с наклоном влево или вправо, но в одну и ту же сторону на всех
изображениях одной и той же детали. Если линии штриховки проведены под углом
45° к линиям рамки чертежа, то можно располагать линии штриховки под углом
30° или 60° (рис. 184, б). Расстояние между параллельными линиями
штриховки выбирают в пределах от 1 до 10 мм в зависимости от площади штриховки
и необходимости разнообразить штриховку.
Неметаллические
материалы (пластмассы, резина и др.) обозначаются штриховкой пересекающимися
взаимно перпендикулярными линиями (штриховка «в клетку»), наклонными
под углом 45° к линиям рамки (рис. 184, в).
Рассмотрим
пример. Выполнив фронтальный разрез, половину профильного разреза соединим с
половиной вида слева предмета, заданного на рис. 185, а.
Анализируя
данное изображение предмета, приходим к выводу, что предмет представляет собой
цилиндр с двумя сквозными призматическими горизонтальными и двумя вертикальными
внутренними
Рис.
185
отверстиями,
из которых одно имеет поверхность правильной шестиугольной призмы, а второе
— цилиндрическую поверхность. Нижнее призматическое отверстие пересекает поверхность
наружного и внутреннего цилиндра, а верхнее четырехгранное призматическое отверстие
пересекает наружную поверхность цилиндра и внутреннюю поверхность шестигранного
призматического отверстия.
Фронтальный разрез предмета (рис. 185, б) выполняется фронтальной плоскостью симметрии предмета и вычерчен на месте главного вида, а профильный разрез — профильной плоскостью симметрией предмета, поэтому ни тот, ни другой обозначать не нужно. Вид слева и профильный разрез представляют собой симметричные фигуры, их половины можно было бы разграничить осью симметрии, если бы не изображение ребра шестигранного отверстия, совпадающего с осевой линией. Поэтому отделяем часть вида слева от профильного разреза волнистой линией, изображая большую часть разреза.
![]() |
![]() |
![]() |